原标题:苹果充电头专利获批:配 USB-C 等多个端口,可动态调节输出功率
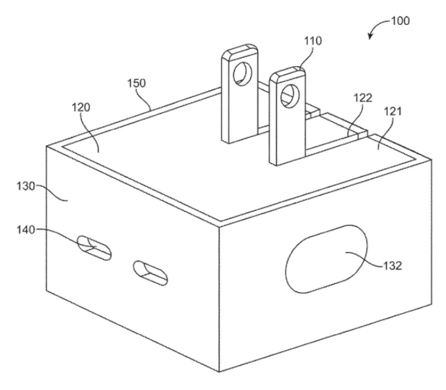
4 月 1 日消息,根据美国商标和专利局(USPTO)公示的商标清单,苹果获得了一项充电头专利。苹果提供的设计草图显示,这款充电头体积小巧、可提供大功率输出,能同时为多种设备充电。

苹果在专利中表示当前数码设备种类和数量大幅增加,iPhone、iPad、Mac 台式机、Mac 笔记本电脑、Apple Watch 等设备都需要充电,导致出行时需要佩戴多个充电器。
IT之家从专利中获悉,这款充电头至少提供 2 个 USB-C 端口,苹果设计的充电头可以根据连接的电子设备来动态分配输出,能够满足不同场景下的设备充电需求。
来源:IT之家
IT时代网(关注微信公众号ITtime2000,定时推送,互动有福利惊喜)所有原创文章版权所有,未经授权,转载必究。
创客100创投基金成立于2015年,直通硅谷,专注于TMT领域早期项目投资。LP均来自政府、互联网IT、传媒知名企业和个人。创客100创投基金对IT、通信、互联网、IP等有着自己独特眼光和丰富的资源。决策快、投资快是创客100基金最显著的特点。
小何
小何
小何
小何